| Hot Selling Pipes | |||
|---|---|---|---|
| Steel Wire Reinforced PE Composite Pipe | Fiberglass Steel Wire Reinforced Composite Pipe | HDPE Pipe | PVC Pipe |
| Antistatic Flame Redartant Composite Pipe for Mining | Anti-corrosion Composite Pipe | Thermal Insulated Pipe | Big Carliber Composite Steel Pipe |
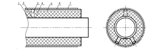
Steel-jacketed steam insulated steel pipe is composed of an outer protective steel pipe, a steel pipe anti-corrosion and insulation layer, and an inner working steel pipe.
It is suitable for conveying steam or other media below 2.5MPa and 350 degrees Celsius. Using steel pipe as an outer protective layer offers high strength, resistance to damage, simple construction, and a long service life.


Applications: Widely used in liquid and gas transmission pipelines, chemical pipeline insulation projects, petroleum, chemical industry, centralized heating network, central air conditioning ventilation ducts, and municipal engineering.

Ensures normal flow of conveying medium.
Inorganic rigid and organic foam layers maintain temperature and prevent carbonisation.
Protects against groundwater erosion and withstands external loads.
Prolongs service life by preventing corrosive substances from reaching the steel.
| Material | Vapour temperature | Thickness of steel plate | Suitable for use |
|---|---|---|---|
| Q235B | ≤300ºC | ≤20mm | Working steel pipe/ outer steel pipe |
| 20.16MN.Q345B | ≤350ºC | / | Working steel pipe |
The outer protection pipe is butt-welded, and the interface welding is bottomed by argon arc welding with 100% ultrasonic flaw detection inspection. Protective measures are taken for completed working pipe insulation to prevent welding burns.



Industrial Steam Supply Project Case
The project adopts the calibre 350mm overhead type high temperature steam insulation pipe. It effectively solves the thermal bridge problem in the pipe network while saving construction costs for the customer.



As a leading engineering pipeline manufacturer, we specialize in functional and customized pipelines for rainwater and sewage diversion, municipal areas, industrial and mining areas, and national key engineering projects. Our goal is to revolutionize pipeline systems globally, ensuring the safety and efficiency of pipeline transportation.

With a team of over 200 R&D experts and more than 100 patents, we leverage national technology R&D platforms to lead the industry in digitalizing and making pipelines intelligent. Our products support critical national infrastructure projects with a focus on innovation and quality.
